Токовый пробник 94111-1 (1 МГц – 1 ГГц)
Особенности 94111-1
Параметры датчика тока 94111-1
• Диапазон: 1 МГц – 1 ГГц.
• Диаметр окна: 1,25”.
Применение пробника 94111-1
• Мониторинг инжекционного тока без прямого подключения.
• Тестирование восприимчивости по RTCA/DO-160C.
• Тестовые испытания CS114 по ст. MIL- STD-462D.
Цена по запросу, e-mail: info@ems-kamera.ru
Описание токового пробника 94111-1
Пробник 94111-1 (ETS-Lindgren) с широким частотным диапазоном применяется в качестве удобного диагностического инструмента.
Мониторинг и тестирование может проводиться без прямого подключения к испытываемому устройству.
С помощью токового пробника 94111-1 возможно осуществлять тесты на проверку требований стандартов, в том числе MIL- STD-462D.
Датчик 94111-1 нашел свое использование для исследования (измерения, анализа) синфазного тока от источников излучения.
Большое окно и токовых пробников серии 94111 позволяет проводить измерения на большинстве силовых кабелях.
Электрические характеристики 94111-1
• Макс. частота: 1000 МГц.
• Мин. частота: 1 МГц.
• Импеданс нагруз.: 50 +/- j0.
• Импеданс передат.: 1-10 Ом.
• Макс. ток, А: 200А (400Гц), 200А (DС-60Гц), 50А (Pulse), 20А (RF(CW)).
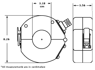
Физические характеристики 94111-1
• Диаметр (внешний): 8.26 см.
• Пробник по ширине: 3.56 см.
• Диаметр окна: 3.18 см.
• Вес пробника: 430 гр.
Схема токового пробника 94111-1
Модель пробника 94111
Техническая диаграмма пробника 94111-1
94111-1 Current Probe Transfer Impedance (Typical)
Набор пробников E/H ETS-Lindgren
Пробники E-поля ETS-Lindgren
• пробник HI-6005 (не выпускается), пробник HI-6022 (не выпускается),
• пробник HI-6006 (100 кГц - 6 ГГц), пробник HI-6023 (10 кГц - 1 ГГц),
• пробник HI-6053 (10 МГц - 40 ГГц), пробник HI-6105 (100 кГц - 6 ГГц),
• пробник HI-6122 (10 кГц - 1 ГГц), пробник HI-6153 (10 МГц - 40 ГГц).
Токовые пробники ETS-Lindgren
• пробник 91197-1 (10 кГц - 8 МГц), пробник 91550-1 (10 кГц - 100 МГц),
• пробник 91550-2 (10 кГц - 150 МГц), пробник 91550-5 (10 кГц - 200 МГц),
• пробник 93511-1 (10 кГц - 30 МГц), пробник 93686-1 (10 кГц - 30 МГц),
• пробник 93686-8 (10 кГц - 200 МГц), пробник 94106-1 (100 кГц - 450 МГц),
• пробник 94606-1 (10 кГц - 100 МГц), пробник 94606-6 (1 кГц - 5 МГц),
• пробник 94111-1 (1 МГц - 1000 МГц), пробник 94430-1 (10 кГц - 250 МГц).
